电子元件/组件

CVX系列

CVX系列

特征


CVX系列
使用氧化锌(ZnO)系的材料,非直线系,应答速度出色的车载电子产品用多层压敏电阻。通过了车载电子用EMC规格(ISO7637-2)JASO过渡电压试验(A种A-1)认证。小型,高耐量型,可表面安装。它可以在-40℃〜+125℃温度范围内使用。

用途


汽车用电子机器的浪涌保护,各种半导体器件的过电压的保护,各种机器的感应雷浪涌的保护,汽车喇叭继电器开关浪涌和静电浪涌吸收。

结构


CVX系列

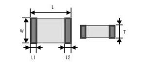
尺寸


  • CVX系列
  • 形式 EIA记号 L W T Max. L1,L2
    CVX80 2220 5.7±0.3 5.2±0.3 4.5 0.8±0.3
    CVX85 2620 6.5±0.3 5.2±0.3 5.5 0.8±0.3

名称结构


CVX系列

相关信息

问关于产品的询问 关于技术的询问